模具设计基础如何设计冲床下料凸模?
2022/6/29 10:00:22 点击:
冲孔机落料冲头范围从用于制造时钟和乐器零件的小型部件到用于落料零件(如汽车挡泥板、车门和顶盖)的大型多单元部件。所生产坯料的尺寸决定了所用冲床的类型
设计考虑因素包括:
稳定性和防止偏转
足够的螺钉来克服剥离载荷
良好的定位方法以实现精确定位
如有必要,切片以进行适当的热处理
下图显示了将冲裁模应用于小型、中型和大型切割模的各种方法。它包括一些预防措施,例如锁定冲床的键以防止其旋转,使用插入件以方便且经济地更换,使用切屑促进热处理并将变形降至最低,使用切屑刀具以防止毛坯粘在冲床上,以及合适的冲裁冲头比例和结构
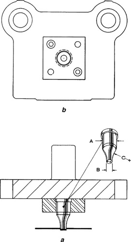
冲裁冲头的应用: 小型冲裁冲头
图1显示了小型仪表垫片使用冲裁冲头的方法
冲裁冲头

图1:小型垫圈使用冲裁冲头的方法
主体直径a远大于冲裁直径B;半径C提供支撑材料,以提供刚性,并防止冲头在接触材料带时发生偏转。剖面图a显示了冲头、冲头板和冲头支架,它们将出现在整个模具图纸的左下剖面图中。
设计考虑因素包括:
稳定性和防止偏转
足够的螺钉来克服剥离载荷
良好的定位方法以实现精确定位
如有必要,切片以进行适当的热处理
下图显示了将冲裁模应用于小型、中型和大型切割模的各种方法。它包括一些预防措施,例如锁定冲床的键以防止其旋转,使用插入件以方便且经济地更换,使用切屑促进热处理并将变形降至最低,使用切屑刀具以防止毛坯粘在冲床上,以及合适的冲裁冲头比例和结构
冲裁冲头的应用: 小型冲裁冲头
图1显示了小型仪表垫片使用冲裁冲头的方法
冲裁冲头

图1:小型垫圈使用冲裁冲头的方法
- 上一篇:CNC金属冲压-定制管材冲孔机 2022/7/5
- 下一篇:不锈钢防盗网专用高速液压冲孔机 2015/4/2


